博客
关于我
【读书笔记】《大话设计模式》抽象工厂模式
阅读量:354 次
发布时间:2019-03-04

本文共 4556 字,大约阅读时间需要 15 分钟。

1.什么是抽象工厂模式?

抽象工厂模式是一种为访问类提供一个创建一组相关或相互依赖对象的接口,且访问类无须指定所要产品的具体类就能得到同族的不同等级的产品的模式结构。

2.抽象工厂模式的特点?

2.1 抽象工厂模式是工厂方法模式的区别:

抽象工厂模式是工厂方法模式的升级版本,工厂方法模式只生产一个等级的产品,而抽象工厂模式可生产多个等级的产品。

2.2 使用抽象工厂模式一般要满足以下条件:

  • 系统中有多个产品种类,每个具体工厂创建同一种类但属于不同等级结构(这里可以理解为种类相同,功能不同的产品,)的产品。
  • 系统一次只可能消费其中某一种类产品,即同类型的产品一起使用。

2.3 抽象工厂模式除了具有工厂方法模式的优点外,其他主要优点如下:

  • 可以在类的内部对产品族中相关联的多等级产品共同管理,而不必专门引入多个新的类来进行管理。
  • 当需要产品族时,抽象工厂可以保证客户端始终只使用同一个产品的产品组。
  • 抽象工厂增强了程序的可扩展性,当增加一个新的产品族时,不需要修改原代码,满足开闭原则。

 抽象工厂模式的缺点是:当产品族中需要增加一个新的产品时,所有的工厂类都需要进行修改。增加了系统的抽象性和理解难度。

3.UML图

 抽象工厂模式的主要角色如下:

  • 抽象工厂(Abstract Factory):提供了创建产品的接口,它包含多个创建产品的方法 newProduct(),可以创建多个不同等级的产品。
  • 具体工厂(Concrete Factory):主要是实现抽象工厂中的多个抽象方法,完成具体产品的创建。
  • 抽象产品(Product):定义了产品的规范,描述了产品的主要特性和功能,抽象工厂模式有多个抽象产品。
  • 具体产品(ConcreteProduct):实现了抽象产品角色所定义的接口,由具体工厂来创建,它同具体工厂之间是多对一的关系。

 抽象工厂模式结构如下图所示:

在这里插入图片描述

 模式的实现:

 (1) 抽象工厂:提供了产品的生成方法。

interface AbstractFactory {           public Product1 newProduct1();        public Product2 newProduct2();    }

 (2) 具体工厂:实现了产品的生成方法。

class ConcreteFactory1 implements AbstractFactory {           public Product1 newProduct1() {               System.out.println("具体工厂 1 生成-->具体产品 11...");            return new ConcreteProduct11();        }        public Product2 newProduct2() {               System.out.println("具体工厂 1 生成-->具体产品 21...");            return new ConcreteProduct21();        }    }

4.抽象工厂模式具体实现

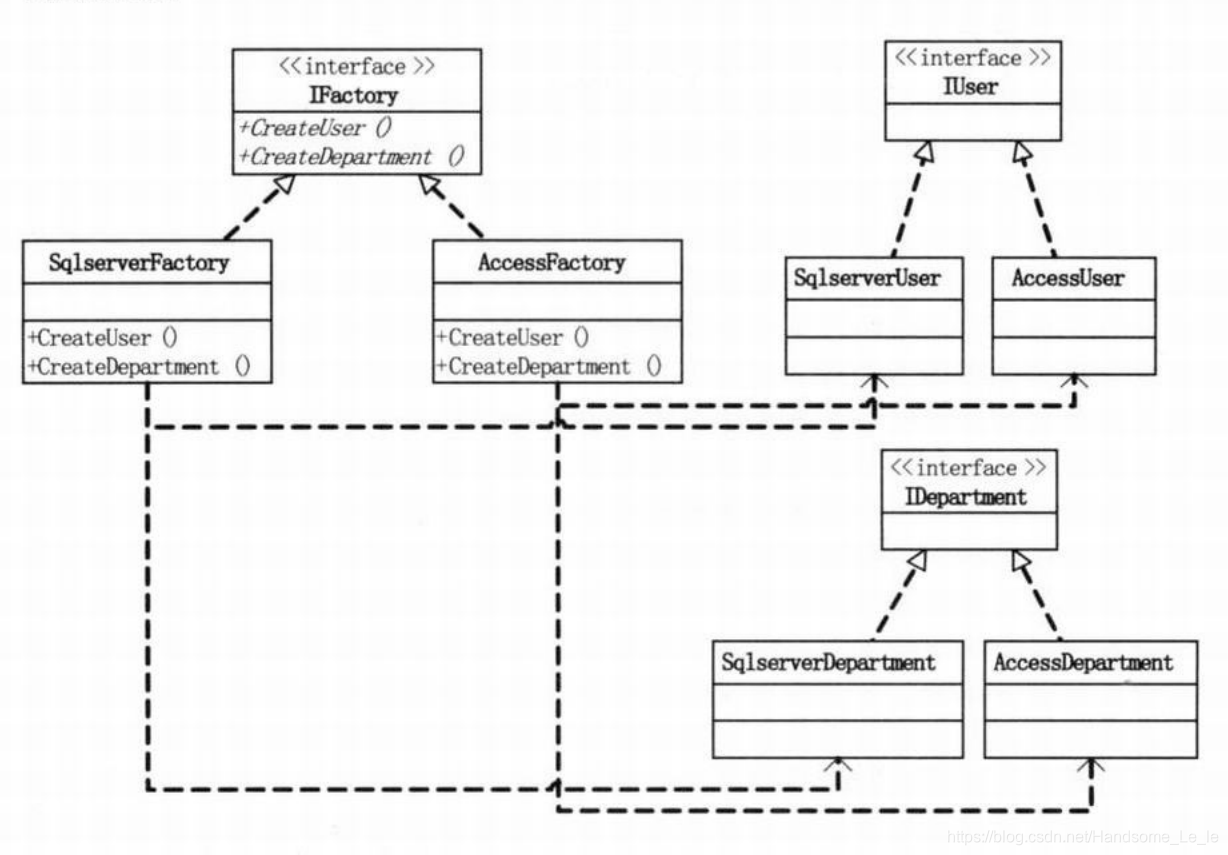
 下图为抽象工厂模式具体应用的UML图:

在这里插入图片描述
 上图场景为:现有User和Department两个人群分别使用此项目的sql server和access数据库。

 IUser接口,用于客户端访问,解除与具体数据库访问的耦合。

public interface IUser {       void insert(User user);    User getUser(int id);}

 SqlServerUser类,用于访问SQL Server的User。

public class SqlServerUser implements IUser {       @Override    public void insert(User user) {           System.out.println("在SQL Server中给User表增加一条记录");    }    @Override    public User getUser(int id) {           System.out.println("在SQL Server中根据ID得到User表一条记录");        return null;    }}

 AccessUser类,用于访问Access的User。

public class AccessUser implements IUser {       @Override    public void insert(User user) {           System.out.println("在Access中给User表增加一条记录");    }    @Override    public User getUser(int id) {           System.out.println("在Access中根据ID得到User表一条记录");        return null;    }}

 IDepartment接口,用于客户端访问,解除与具体数据库访问的耦合。

public interface IDepartment {       void insert(Department department);    Department getDepartment(int id);}

 SqlServerDepartment类,用于访问SQL Server的Department。

public class SqlServerDepartment implements IDepartment {       @Override    public void insert(Department department) {           System.out.println("在SQL Server中给Department表增加一条记录");    }    @Override    public Department getDepartment(int id) {           System.out.println("在SQL Server中根据ID得到Department表一条记录");        return null;    }}

 AccessDepartment类,用于访问Access的Department。

public class AccessDepartment implements IDepartment {       @Override    public void insert(Department department) {           System.out.println("在Access中给Department表增加一条记录");    }    @Override    public Department getDepartment(int id) {           System.out.println("在Access中根据ID得到Department表一条记录");        return null;    }}

 IFactory接口,定义一个创建访问User和Department表对象的抽象的工厂接口。

public interface IFactory {       IUser createUser();        IDepartment createDepartment();}

 SqlServerFactory类,实现IFactory接口,实例化SqlServerUser和SqlServerDepartment。

public class SqlServerFactory implements IFactory {       @Override    public IUser createUser() {           return new SqlServerUser();    }    @Override    public IDepartment createDepartment() {           return new SqlServerDepartment();    }}

 AccessFactory类,实现IFactory接口,实例化AccessUser和AccessDepartment。

public class AccessFactory implements IFactory {       @Override    public IUser createUser() {           return new AccessUser();    }    @Override    public IDepartment createDepartment() {           return new AccessDepartment();    }}

 客户端代码

public class Main {       public static void main(String[] args) {           User user = new User();        Department department = new Department();//        IFactory factory = new SqlServerFactory();        IFactory factory = new AccessFactory();        IUser iu = factory.createUser();        iu.insert(user);        iu.getUser(1);        IDepartment id = factory.createDepartment();        id.insert(department);        id.getDepartment(1);    }}

 结果显示如下:

在这里插入图片描述

6.模式的应用场景

抽象工厂模式最早的应用是用于创建属于不同操作系统的视窗构件。如 Java 的 AWT 中的 Button 和 Text 等构件在 Windows 和 UNIX 中的本地实现是不同的。

 抽象工厂模式通常适用于以下场景:

  • 当需要创建的对象是一系列相互关联或相互依赖的产品族时,如电器工厂中的电视机、洗衣机、空调等。
  • 系统中有多个产品族,但每次只使用其中的某一族产品。如有人只喜欢穿某一个品牌的衣服和鞋。
  • 系统中提供了产品的类库,且所有产品的接口相同,客户端不依赖产品实例的创建细节和内部结构。

转载地址:http://mmoe.baihongyu.com/

你可能感兴趣的文章
Netty工作笔记0076---handler链调用机制实例3
查看>>
Netty工作笔记0077---handler链调用机制实例4
查看>>
Netty工作笔记0078---Netty其他常用编解码器
查看>>
Netty工作笔记0079---Log4j整合到Netty
查看>>
Netty工作笔记0080---编解码器和处理器链梳理
查看>>
Netty工作笔记0081---编解码器和处理器链梳理
查看>>
Netty工作笔记0082---TCP粘包拆包实例演示
查看>>
Netty工作笔记0083---通过自定义协议解决粘包拆包问题1
查看>>
Netty工作笔记0084---通过自定义协议解决粘包拆包问题2
查看>>
Netty工作笔记0085---TCP粘包拆包内容梳理
查看>>
Netty常用组件一
查看>>
Netty常见组件二
查看>>
Netty应用实例
查看>>
netty底层——nio知识点 ByteBuffer+Channel+Selector
查看>>
netty底层源码探究:启动流程;EventLoop中的selector、线程、任务队列;监听处理accept、read事件流程;
查看>>
Netty心跳检测
查看>>
Netty心跳检测机制
查看>>
netty既做服务端又做客户端_网易新闻客户端广告怎么做
查看>>
netty时间轮
查看>>
Netty服务端option配置SO_REUSEADDR
查看>>